BLANCO bateria zlewozmywakowa MIDA
PARAMETRY TECHNICZNE :
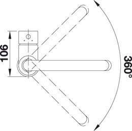
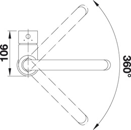
- - Ruchoma wylewka (kąt obrotu: 360°)
- - Wymagany otwór pod baterię o średnicy 35 mm
- - Głowica ceramiczna
- - Elastyczne przewody przyłączeniowe o długości 350 mm i nakrętka ⅜'' gwarantują szybki i pewny montaż








